煤炭采掘工具用硬质合金
Cemented carbide for coal-mining tools
·HM10型(Type)
Type
Dimension(mm)
Right
left
B
H
 
b
HM1011R
HM1011L
11.0
12.0
2.5
4.0
HM1014R
HM1014L
14.0
19.0
3.8
4.0
HM1015R
HM1015L
15.0
22.0
3.0
5.0
HM1018R
HM1018L
18.0
22.0
6.0
5.0


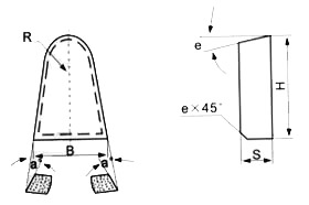
·HM11型(Type)
Type
Dimension(mm)
B
H
h
s
HM1112
12.0
18.0
15.8
3.0
HM1113
13.4
26.0
23.8
3.0
·HM12型(Type)
Type
Dimension(mm)
B
H
S
R
 
e
HM1216
16.0
22.0
7.0
6.0
15
1.0
HM1220
20.0
27.0
8.0
7.0
15
1.0
HM1222
22.0
22.0
7.5
8.0
10
1.5
HM1230
30.0
35.0
12.0
9.0
8
1.0
·HM13型(Type)
Type
Dimension(mm)
B
H
S
 
HM1306
6.0
5.0
1.4
130
HM1311
11.0
9.0
2.0
130
HM1313
13.0
10.0
2.5
130
HM1315
15.0
10.0
2.5
130
HM1317
17.0
13.0
3.0
130
HM1319
19.0
13.0
3.0
130
HM1322
22.0
15.0
3.5
130
HM1326
26.0
18.0
4.5
130
HM1333
33.0
22.0
3.0
130
HM1345
45.0
27.0
9.0
130
   

 

地址:浙江省乐清市芙蓉镇工业区 
邮编:325612
电话:0086-577-62299888 62295699 62295799
传真:0086-577-62292399
Http://www.cn-hongFeng.com
E-mail:HF1@cn-hongFeng.com
ADD:FuRong Industrial Zone,YueQing City,ZheJiang,China.
PIC:325612
Tel:0086-577-62295799 62291799 62292699
Fax:0086-577-62292399
Http://www.cn-hongFeng.com
E-mail:HF1@cn-hongFeng.com